Зазор свечи зажигания — важный параметр, влияющий на эффективность и экономичность двигателя. Неправильный зазор может вызвать проблемы с запуском, нестабильную работу на холостом ходу и увеличенный расход топлива. В статье рассмотрим, какой зазор должен быть на свечах зажигания, как его измерить и отрегулировать, а также необходимые инструменты для этих процедур. Соблюдение правильных значений зазора обеспечит надежную работу автомобиля и продлит срок службы двигателя.
Какой зазор должен быть на свечах зажигания
Каждый автомобиль имеет техническую документацию с необходимой для водителя информацией. В ней указан параметр «зазор на свече зажигания». Если двигатель не модифицирован, не стоит отклоняться от заводских значений зазора свечи.
Эксперты в области автомобильной техники подчеркивают важность правильного зазора свечи зажигания для оптимальной работы двигателя. Зазор, как правило, должен находиться в пределах 0,7-1,1 мм, однако точные значения зависят от модели автомобиля и типа свечи. Для измерения зазора рекомендуется использовать щупы, которые позволяют точно определить расстояние между электродами. При необходимости регулировки специалисты советуют аккуратно подгибать центральный электрод, избегая его повреждения. Неправильный зазор может привести к ухудшению работы двигателя, увеличению расхода топлива и повышению выбросов вредных веществ. Поэтому регулярная проверка и корректировка зазора свечей зажигания являются важными этапами технического обслуживания автомобиля.

Когда требуется регулировка зазора на свече зажигания
Зазор на свече зажигания выставляется на заводе-производителе, и он не должен волновать водителя при стабильной работе двигателя. Но у всех автомобилей могут возникать проблемы в камере сгорания, и по нагару свечи многие из них можно диагностировать. Соответственно, при определенных неисправностях зазор свечи зажигания может меняться, и его потребуется выставить рекомендуемым образом. Даже при стабильной работе двигателя зазор на некачественных свечах зажигания может чуть измениться, именно поэтому на них экономить не рекомендуется. Чуть изменившийся зазор скажется на потреблении топлива, и сработает поговорка «скупой платит дважды».
Владельцы автомобилей со стажем рекомендуют проверять зазор в свечах зажиганиях и сравнивать его с нормативами 2 раза за год. Это обусловлено тем, что каждые полгода заботливые водители проводят чистку свечи зажигания от нагара, и удобно во время данной процедуры также провести регулировку зазора.
| Марка и модель автомобиля | Рекомендуемый зазор свечи зажигания (мм) | Способ измерения и регулировки |
|---|---|---|
| (Укажите марку и модель) | (Укажите значение из руководства по эксплуатации) | (Укажите способ, например: щуп, калибр; возможность регулировки – да/нет; если да, то как) |
| (Укажите марку и модель) | (Укажите значение из руководства по эксплуатации) | (Укажите способ, например: щуп, калибр; возможность регулировки – да/нет; если да, то как) |
| (Укажите марку и модель) | (Укажите значение из руководства по эксплуатации) | (Укажите способ, например: щуп, калибр; возможность регулировки – да/нет; если да, то как) |
| (Укажите марку и модель) | (Укажите значение из руководства по эксплуатации) | (Укажите способ, например: щуп, калибр; возможность регулировки – да/нет; если да, то как) |
| (Укажите марку и модель) | (Укажите значение из руководства по эксплуатации) | (Укажите способ, например: щуп, калибр; возможность регулировки – да/нет; если да, то как) |
Интересные факты
Вот несколько интересных фактов о зазоре свечи зажигания:
-
Оптимальный зазор: Зазор свечи зажигания влияет на эффективность сгорания топливовоздушной смеси. Обычно он составляет от 0,7 до 1,1 мм, но точное значение зависит от типа двигателя и рекомендаций производителя. Неправильный зазор может привести к ухудшению работы двигателя, увеличению расхода топлива и повышению выбросов.
-
Измерение зазора: Для измерения зазора свечи зажигания используют специальные щупы, которые позволяют точно определить расстояние между электродами. Важно измерять зазор в нескольких местах, так как он может быть неравномерным из-за износа или повреждений.
-
Регулировка зазора: Регулировка зазора свечи зажигания может быть выполнена с помощью специальных инструментов, таких как щипцы для зазора. При этом важно быть осторожным, чтобы не повредить электроды. Неправильная регулировка может привести к искровым пробоям или затруднениям в запуске двигателя.

Как измерить зазор свечи зажигания
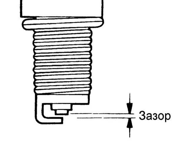
Измерение зазора свечи зажигания — простая процедура, не требующая специальных навыков. Водителю нужно определить расстояние между внутренним и внешним электродами. Из-за небольшого размера зазора штангенциркуль или линейка не подойдут.
Для измерения зазора используются специализированные инструменты, которые делятся на два типа:
-
Монетообразные:
- Круглые: имеют два диаметра. Внутренний диаметр с градуировкой показывает толщину внешнего. Инструмент помещается между электродами и вращается до застревания. По шкале определяется расстояние между электродами.
- С щупами: конструкция схожа, но вращать их нельзя. Измерения проводятся вручную, вставляя проволочный щуп и подбирая подходящий, пока не будет найден тот, который плотно войдет между электродами.
-
Плоские: напоминают складной нож и состоят из набора щупов различной толщины. Щупы последовательно вставляются в промежуток между электродами для определения зазора.
Важно: При измерении расстояния между электродами следует проявлять осторожность. Даже небольшое усилие может повредить электрод.
Как отрегулировать зазор свечи зажигания
Если в результате замеров и сравнений полученных результатов с эталонными значениями оказалось, что зазор между электродами больше или меньше нормы, регламентированной в документах к двигателю автомобиля, то его требуется исправить.
При уменьшении и увеличении зазора следует знать всего одно правило – не изменяйте зазор более чем на 0,5 мм за одно усилие, иначе это приведет к поломке электрода. В остальном процедура регулировки зазора очень простая, достаточно:
- Очистить свечу зажигания от нагара;
- С помощью физического усилия уменьшить или увеличить зазор, в зависимости от необходимости. Если требуется уменьшить зазор, прижмите внешний электрод к твердой поверхности и надавите на него – он погнется и сблизится с внутренним элементом свечи. При необходимости увеличить зазор действуйте похожим образом – возьмите импровизированный рычаг и отогните внешний электрод от внутреннего;
- Измерьте зазор свечи зажигания, и если он вновь не идеален, повторите процедуру.
Новые свечи зажигания не нуждаются в регулировке зазора, если речь идет об их установке в стандартный двигатель. При покупке свечи для конкретной модели автомобиля, они продаются уже с отрегулированным по требованиям производителей автомобилей зазором.

Влияние зазора свечи зажигания на работу двигателя
Зазор свечи зажигания играет ключевую роль в работе двигателя внутреннего сгорания. Он влияет на качество искры, которая необходима для воспламенения топливно-воздушной смеси в цилиндрах. Неправильный зазор может привести к различным проблемам, включая неэффективное сгорание, увеличение расхода топлива, а также повышенные выбросы вредных веществ.
При слишком большом зазоре искра может быть недостаточно мощной для воспламенения смеси, что приводит к пропускам зажигания и снижению мощности двигателя. В то же время, слишком маленький зазор может вызвать преждевременное зажигание смеси, что может привести к детонации и повреждению двигателя. Таким образом, правильный зазор свечи зажигания является критически важным для обеспечения оптимальной работы двигателя.
Кроме того, зазор может изменяться в процессе эксплуатации. Это связано с естественным износом электродов свечи, а также с воздействием высоких температур и давления в камере сгорания. Поэтому регулярная проверка и регулировка зазора свечи зажигания являются важными процедурами в техническом обслуживании автомобиля.
Оптимальный зазор для большинства современных свечей зажигания составляет от 0,7 до 1,1 мм, однако точные значения могут варьироваться в зависимости от типа двигателя и рекомендаций производителя. Поэтому перед проведением регулировки всегда стоит обратиться к руководству по эксплуатации автомобиля.
В заключение, правильный зазор свечи зажигания является одним из основных факторов, влияющих на эффективность работы двигателя. Регулярная проверка и корректировка зазора помогут избежать многих проблем и продлить срок службы как свечей, так и самого двигателя.
Вопрос-ответ
Как правильно отрегулировать зазор свечей зажигания?
Регулировка зазора осуществляется путем изменения положения внешнего электрода относительно внутреннего. Для уменьшения расстояния следует немного приподнять внешний контакт в сторону внутреннего, а для увеличения зазора, наоборот, слегка отогнуть наружу.
Какой нормальный зазор на свечах зажигания?
Нормальный зазор свечи зажигания зависит от конструктивных особенностей двигателя: для «классических» карбюраторных авто – 0,5–0,6 мм, для карбюраторных машин с электронным зажиганием – 0,7–0,8 мм, для инжекторных – 1–1,3 мм.
Лучше ли использовать щуп или прибор для измерения зазоров свечей зажигания?
Преимущества использования щупа заключаются в том, что он точнее, чем свечные щупы с рамповым щупом, и что большинство щупов имеют достаточное количество различных пластин для измерения практически любого зазора. Поэтому, если у вашего автомобиля зазор нестандартного размера, щуп, скорее всего, всё равно будет иметь пластину нужной толщины.
Какой должен быть зазор на свечах на инжекторе?
Для мотора с инжектором лучше, чтобы зазор был на уровне 1-1,3 мм. Если карбюратор оснащен электронным зажиганием, то достаточно 0,7-0,8 мм зазора. Такой разбег связан с тем, что карбюраторная система работает от низкого напряжения. За счет этого искра слабее и, соответственно, требуется небольшое расстояние.
Советы
СОВЕТ №1
Перед измерением зазора свечи зажигания обязательно очистите её от загрязнений и отложений. Это поможет получить более точные результаты и избежать ошибок при регулировке.
СОВЕТ №2
Используйте специальный щуп для измерения зазора. Он позволит вам точно определить расстояние между электродами и избежать неточностей, которые могут возникнуть при использовании других инструментов.
СОВЕТ №3
Регулируйте зазор свечи зажигания, аккуратно подгибая боковой электрод. Избегайте чрезмерного давления, чтобы не повредить свечу. Правильный зазор обеспечит стабильную работу двигателя и улучшит его производительность.
СОВЕТ №4
Проверяйте зазор свечи зажигания регулярно, особенно перед длительными поездками или при смене сезона. Это поможет предотвратить проблемы с запуском двигателя и повысит его эффективность.
Зазор свечи зажигания играет ключевую роль в работе двигателя внутреннего сгорания. Он влияет на качество искры, которая необходима для воспламенения топливно-воздушной смеси в цилиндрах. Неправильный зазор может привести к различным проблемам, включая неэффективное сгорание, увеличение расхода топлива, а также повышенные выбросы вредных веществ.
При слишком большом зазоре искра может быть недостаточно мощной для воспламенения смеси, что приводит к пропускам зажигания и снижению мощности двигателя. В то же время, слишком маленький зазор может вызвать преждевременное зажигание смеси, что может привести к детонации и повреждению двигателя. Таким образом, правильный зазор свечи зажигания является критически важным для обеспечения оптимальной работы двигателя.
Кроме того, зазор может изменяться в процессе эксплуатации. Это связано с естественным износом электродов свечи, а также с воздействием высоких температур и давления в камере сгорания. Поэтому регулярная проверка и регулировка зазора свечи зажигания являются важными процедурами в техническом обслуживании автомобиля.
Оптимальный зазор для большинства современных свечей зажигания составляет от 0,7 до 1,1 мм, однако точные значения могут варьироваться в зависимости от типа двигателя и рекомендаций производителя. Поэтому перед проведением регулировки всегда стоит обратиться к руководству по эксплуатации автомобиля.
В заключение, правильный зазор свечи зажигания является одним из основных факторов, влияющих на эффективность работы двигателя. Регулярная проверка и корректировка зазора помогут избежать многих проблем и продлить срок службы как свечей, так и самого двигателя.



